Product Summary
The 2DI75Z-120 is a power transistor module. The applications of it are power switching, A.C motor controls, D.C motor controls, uninterruptible power supply.
Parametrics
2DI75Z-120 general specifications: (1)VCBO:1200V; (2)VCEO:1200V; (3)VEBO:10V; (4)IC:75A; (5)ICP:150A; (6)-IC:75A; (7)IB:4A; (8)IBP:8A; (9)PC:500W; (10)Tj:+150℃; (11)Tstg:-40 to +125℃; (12)Viso:2500V.
Features
2DI75Z-120 features: (1)high voltage; (2)including free wheeling diode; (3)excellent safe operating area; (4)insulated type.
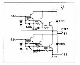
Diagrams

(Hong Kong)






