Product Summary
The 2DI150M-120 is a power transistor module. The applications of it are general purpose inverter, uninterruptible power supply, servo and spindle drive for NC machine tools, robotics, switching power supplies for welding machines.
Parametrics
2DI150M-120 absolute maximum ratings: (1)VCBO:1200V; (2)VCEO:1200V; (3)VCEO(SUS):900V; (4)VEBO:10V; (5)IC:150A; (6)ICP:300A; (7)-IC:150A; (8)IB:8A; (9)IBP:16A; (10)PC:1000W; (11)Tj:+150℃; (12)Tstg:-40℃ to +125℃; (13)Visol:2500V.
Features
2DI150M-120 features: (1)high Arm short circuit capability; (2)high DC current gain; (3)including free wheeling diode; (4)insulated type.
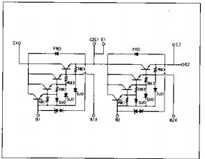
Diagrams

| Image | Part No | Mfg | Description | ![]() |
Pricing (USD) |
Quantity | ||||
|---|---|---|---|---|---|---|---|---|---|---|
![]() |
![]() 2DI150M-120 |
![]() Other |
![]() |
![]() Data Sheet |
![]() Negotiable |
|
||||
| Image | Part No | Mfg | Description | ![]() |
Pricing (USD) |
Quantity | ||||
![]() |
![]() 2DI150M-120 |
![]() Other |
![]() |
![]() Data Sheet |
![]() Negotiable |
|
||||
(Hong Kong)









